Produkcija /
Savilcēji, stiprinājumi

Savilcēji, stiprinājumi

Gumija, paranīts, blīvējošie materiāli /

Convex RTJs

Convex RTJs

Convex RTJs

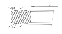
These machine-cut rings of convex shape are manufactured according to DIN 7603D or customer specifications.